Сборка и регулировка карбюратора Weber 2V (Скорпио 1)

            0

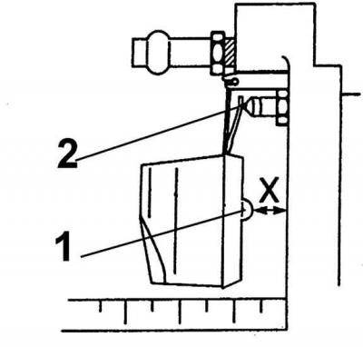
Регулировка уровня поплавка



1 – выступ на поплавке, 2 – регулирующее ушко, Х – уровень поплавка

1 – выступ на поплавке, 2 – регулирующее ушко, Х – уровень поплавка


1. Сборка производится в последовательности обратной разборке.

2. Собрать крышку карбюратора, проверить и при необходимости отрегулировать уровень поплавка.

3. Проверить регулировку поплавка, для чего установить верхнюю часть карбюратора таким образом, чтобы игольчатый клапан был закрыт, но шарик клапана не должен быть утоплен. Измерить расстояние от прокладки верхней части карбюратора до дна поплавка. При несоответствии полученного размера требуемому подогнуть упорный язычок на поплавке.

4. Установить верхнюю часть карбюратора и остальные ранее снятые элементы.

5. Установить шаговый двигатель.

6. Отрегулировать зазор воздушной заслонки.






Ссылка на эту страницу в разных форматах


Комментарии посетителей

Еще нет комментариев



Фьюжн 
Скорпио 1 
Скорпио 2 
Сиерра 

Анекдот про автомобили
покажите следующий
Мы применяем куки, чтобы сайт работал стабильно, запоминал настройки и был удобен для вас 🍪