Задняя ступица и подшипник (мост типа «G») — снятие, разборка и установка (Транзит 2)

            0

Внимание: за время производства методы фиксации задней ступицы часто менялись. Ознакомьтесь со всеми процедурами прежде, чем приступите к работе, и убедитесь, что имеете все необходимые для работы инструменты. Соблюдайте особую осторожность при снятии и установке ступичных гаек, поскольку они затягиваются до чрезвычайно высокого крутящего момента (особенно на последних моделях). В любом случае, при установке следует использовать новые гайки ступицы.


Предостережение: из-за чрезвычайно высокого крутящего момента затяжки задней гайки ступицы (особенно на последних моделях), разместите опоры под задним мостом так, чтобы можно добавить дополнительные опоры, и соблюдайте особую осторожность при снятии и установке ступичных гаек. В работе используйте только правильные гнезда, соответствующие типу гайки, и убедитесь в наличии подходящего инструмента для снятия гаек и динамометрического ключа, способного к их затягиванию до правильного усилия затяжки (см. Спецификации) при установке. Поручите эту работу дилеру или соответственно оборудованному гаражу, если процедуры Вам непонятны, или если требуемые инструменты недоступны.


Снятие



Мод. 51А и 53



1. Обратитесь к Разделу 9 и снимите полуось на интересующей Вас стороне.

2. Отогните язычок шайбы от контрящей гайки ступицы и отвинтите контрящую гайку. Сняв шайбу, отвинтите гайку ступицы (см. рис. 11.2).

Рис. 11.2. Мост типа «G» (мод. 51А и 53): гайка ступицы (1), стопорная шайба (2) и контргайка (3).

Рис. 11.2. Мост типа "G" (мод. 51А и 53): гайка ступицы (1), стопорная шайба (2) и контргайка (3).


3. Отпустив стояночный тормоз, снимите ступицу вместе с тормозным барабаном и обоймой наружного подшипника, которая снимается после снятия ступицы и барабана. На автомобилях, оборудованных ABS, позаботьтесь о том, чтобы не повредить кольцо датчика частоты вращения колеса.

Мод. 51 - модели с 1992 года



4. Обратитесь к Разделу 9 и снимите полуось на интересующей Вас стороне.

5. Сняв полуось, вытащите распорное кольцо, установленное между подшипником и картером заднего моста.

6. Ступица фиксируется двенадцатигранной гайкой, которую затягивают до чрезвычайно высокого крутящего момента. Для снятия и установки гайки потребуется торцевая головка 21/4 дюйма AF. Гайка левой ступицы имеет левую резьбу, а гайка правой ступицы - правую резьбу. Гайки с левой резьбой могут быть идентифицированы маркировочным пазом, проходящим по окружности гайки (см. рис. 10.5).

7. Воспользовавшись головкой и длинным удлинительным стержнем, отвинтите гайку ступицы.

8. Извлеките ступицу, заботясь о том, чтобы не повредить кольцо датчика частоты вращения колеса на автомобилях, оборудованных ABS.

Капитальный ремонт



Мод. 51А и 53



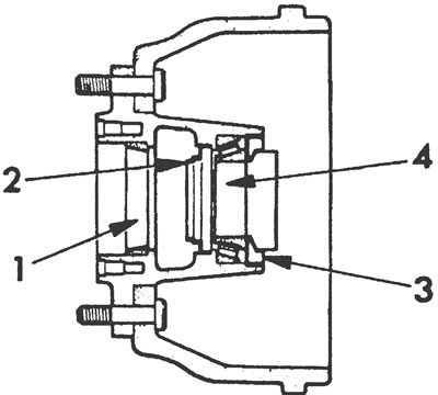
9. Вычистите и осмотрите ступицу, как описано в параграфе 12 предыдущего Раздела (см. рис. 11.9).

Рис. 11.9. Ступица моста типа«С »(мод. 51А и 53): 1. Наружное кольцо наружного конического…

Рис. 11.9. Ступица моста типа"С "(мод. 51А и 53): 1. Наружное кольцо наружного конического роликоподшипника, 2. Внешняя манжета, 3. Внутренняя манжета, 4. Внутреннее кольцо внутреннего конического роликоподшипника.


10. Для разборки используйте в качестве опоры лицевую и тыльную стороны фланца ступицы (но не тормозной барабан и не колесные шпильки) так, чтобы не повредить задающее кольцо на автомобилях с ABS.

11. Прежде, чем удалить старые масляные уплотнения, запишите их положения и установочную глубину в ступице. Имеются специальные проталкивающие инструменты "Форда", предназначенные для точной установки новых уплотнений, однако можно воспользоваться приготовленными заранее подходящими гнездами или отрезками труб, если известно правильное установочное положение уплотнений.

12. Мягкой металлической выколоткой или трубой подходящего диаметра, выдавите внешнее масляное уплотнение, обойму внутреннего конического роликоподшипника и внутреннее масляное уплотнение.

13. Вытесните наружные кольца внутреннего и внешнего конических роликоподшипников.

14. Зачистите ступицу мелким напильником, снимая любые зарубки или задиры, вызванные снятием наружных колец подшипников.

15. Чтобы повторно собрать ступицу, поддержите ее на лицевой стороне внутри тормозного барабана (но не на барабане непосредственно) так, чтобы шпильки торчали вверх.

16. Вдавите новое наружное кольцо внешнего конического роликоподшипника в ступицу так, чтобы оно вошло в контакт с буртиком ступицы.

17. Перевернув ступицу с барабаном шпильками вниз, поставьте ее на опоры в таком положении.

18. Вдавите новое наружное кольцо внутреннего конического роликоподшипника в ступицу так, чтобы оно вошло в контакт с буртиком ступицы.

19. Направив контактную кромку уплотнения вниз, вдавите внешнее масляное уплотнение в наружное кольцо подшипника до установочного положения, отмеченного при снятии.

20. Обильно смажьте внутренний роликоподшипник и установите его на место в наружное кольцо подшипника.

21. Вдавите внутреннее масляное уплотнение в ступицу до установочного положения, отмеченного при снятии.

Мод. 51 - модели с 1992 года



22. Процедура капитального ремонта аналогична описанной выше для моста типа "Н" (см. параграфы с 12-го по 18-й Раздела 10).

Установка



Мод. 51А и 53



23. Собрав ступицу, смажьте внутренние и внешние масляные уплотнения и внутренний подшипник консистентной смазкой и установите ступицу и барабан на ось.

24. Смажьте внешний подшипник и расположите его внутри наружного кольца внешнего подшипника в ступице.

25. Навинтите гайку ступицы и затяните ее до усилия затяжки, регламентированного спецификацией, проворачивая при этом ступицу и барабан в обоих направлениях, чтобы уложить подшипник (см. рис. 11.25).

Рис.11.25. Затяжка гайки ступицы моста типа «G» (мод. 51А и 53): 1. Торцовая головка, 2.…

Рис.11.25. Затяжка гайки ступицы моста типа "G" (мод. 51А и 53): 1. Торцовая головка, 2. Динамометрический ключ.


26. Отверните гайку ступицы приблизительно на 180° (пол-оборота), установите стопорную шайбу, расположив ее язычок под ступичной гайкой.

27. Навинтите контргайку ступицы и затяните ее до усилия затяжки, регламентированного спецификацией.

28. Проверьте люфт подшипника ступицы подходящим циферблатным индикатором (см. рис. 11.28). Если необходимо, подрегулируйте подшипники ступицы, чтобы добиться указанной в спецификации величины люфта. Когда люфт подшипника удовлетворителен, загните язычки стопорной шайбы внутрь поверх ступичной гайки и наружу поверх контргайки.

Рис.11.28. Проверка люфта подшипника ступицы моста типа «G» (мод. 51А и 53) с помощью стрелочного…

Рис.11.28. Проверка люфта подшипника ступицы моста типа "G" (мод. 51А и 53) с помощью стрелочного индикатора.


29. Установите полуось, как описано в Разделе 9.

Мод. 51 - модели с 1992 года



30. Собрав ступицу, смажьте контактные кромки масляного уплотнения консистентной смазкой, затем осторожно наденьте ступицу на ось, используя полуось как направляющую. Снимите полуось снова.

31. Навинтите новую гайку ступицы, обратившись к сделанным ранее замечаниям относительно идентификации лево- и правосторонних гаек.

32. Надежно поддержав задний мост, затяните гайку ступицы до усилия затяжки, регламентированного спецификацией, затем установите промежуточное кольцо перед подшипником

33. Установите полуось, как описано в Разделе 9.

За подробной информацией обратитесь к сайту: www.FordBook.ru






Ссылка на эту страницу в разных форматах


Комментарии посетителей

Еще нет комментариев



Мы применяем куки, чтобы сайт работал стабильно, запоминал настройки и был удобен для вас 🍪