Полуоси заднего моста — снятие и установка (Транзит 2)

            0

Снятие



Мост типа "Н" (мод. 34)



1. Разгрузив автомобиль, заблокируйте передние колеса. Снимите с колес колпаки и ослабьте колесные гайки на интересующей Вас стороне.

2. Поддомкратив заднюю часть автомобиля, установите ее на опоры, разместив их со стороны рамы перед задними рессорами. Поддержите вес заднего моста домкратом, помещенным под дифференциалом.

3. Отметив положение заднего колеса относительно барабана или ступицы, отвинтите колесные гайки и снимите колесо.

4. Отметив положение тормозного барабана относительно ступицы, отпустите стояночный тормоз и снимите тормозной барабан (см. рис. 9.4).

Рис. 9.4. Снимите тормозной барабан.

Рис. 9.4. Снимите тормозной барабан.


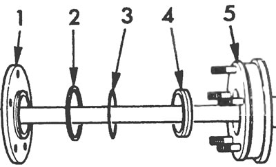
5. Отметив положение полуоси относительно ступицы выпустите полуось, для чего отделите ее фланец от ступицы, постучав по нему или осторожно поддев его отверткой. Вытащите полуось из картера и ступицы так, чтобы не повредить масляное уплотнение внутри ступицы. Будьте готовы к проливанию масла (см. рис. 9.5,а-в).

Рис. 9.5,а. Полуось типа «Н» и устанавливаемые на ней детали: 1. Полуось, 2. Прокладка, 3.…

Рис. 9.5,а. Полуось типа «Н» и устанавливаемые на ней детали: 1. Полуось, 2. Прокладка, 3. Уплотнительное кольцо, 4. Промежуточное кольцо, 5. Ступиц


6. Вытащите из фланца прокладку и уплотнительное кольцо, а также, если требуется, промежуточное кольцо, установленное перед подшипником в картере ведущего моста (см. рис. 9.6).

Рис. 9.5,б. Отделите фланец полуоси от ступицы.

Рис. 9.5,б. Отделите фланец полуоси от ступицы.


Рис. 9.5,в. Вытащите полуось из картера и ступицы так, чтобы не повредить масляное уплотнение…

Рис. 9.5,в. Вытащите полуось из картера и ступицы так, чтобы не повредить масляное уплотнение внутри ступицы.


Рис. 9.6. Вытащите из фланца прокладку и уплотнительное кольцо.

Рис. 9.6. Вытащите из фланца прокладку и уплотнительное кольцо.


Мост типа "G" (мод. 51а и 53)



7. Разгрузив автомобиль, заблокируйте передние колеса. Снимите с колеса колпак и ослабьте колесные гайки на интересующей Вас стороне. Помните, что автомобили, выпущенные до 1992 года и имеющие колеса с шестью шпильками, имеют на левой стороне гайки с левой резьбой (отвинчиваются по часовой стрелке). С 1992 года с обеих сторон устанавливаются гайки с обычной правой резьбой.

8. Поддомкратив заднюю часть автомобиля, установите ее на опоры со стороны рамы перед задними рессорами. Поддержите вес заднего моста домкратом, помещенным под дифференциалом.

9. Отметив положение заднего колеса (колес) относительно барабана или ступицы, отвинтите колесные гайки и снимите колесо (колеса).

10. Отвинтите гайки или болты, крепящие полуось к ступице колеса.

11. Вытащите полуось из картера и ступицы так, чтобы не повредить масляное уплотнение внутри ступицы. Будьте готовы к проливанию масла.

Мост типа"С" (мод. 51) - модели с 1992 года



12. Убедившись, что автомобиль разгружен, заблокируйте передние колеса, снимите с колеса колпак и ослабьте колесные гайки на интересующей Вас стороне.

13. Поддомкратив заднюю часть автомобиля, установите ее на опоры со стороны рамы перед задними рессорами. Поддержите вес заднего моста домкратом, помещенным под дифференциалом.

14. Отметив положение заднего колеса относительно барабана или ступицы, отвинтите колесные гайки и снимите колесо.

15. Отметив положение тормозного барабана относительно ступицы, отпустите стояночный тормоз и снимите тормозной барабан.

16. Отвинтите болты, крепящие полуось к ступице.

17. Отметив положение полуоси относительно ступицы, выпустите полуось, для чего отделите ее фланец от ступицы, постучав по нему или осторожно поддев его отверткой. Вытащите полуось из картера и ступицы так, чтобы не повредить масляное уплотнение внутри ступицы. Будьте готовы к проливанию масла.

18. Если требуется, извлеките промежуточное кольцо, установленное в передней части подшипника в картере ведущего моста.

Установка



19. Установка полуоси оси производится в порядке, обратном снятию, но обратите внимание на следующее:
  • а) устанавливайте промежуточное кольцо передней части подшипника (на мосту типа "Н") так, чтобы сторона с фаской смотрела внутрь. На мосту типа "G" мод 51 промежуточное кольцо может быть обращено внутрь любой своей стороной;
  • б) перед установкой очистите соприкасающиеся поверхности полуоси и ступицы, и замените новыми уплотнительное кольцо и прокладку. На мостах типа "С" мод 51А и 53 покройте фланец полуоси герметиком;
  • в) при установке полуоси, тормозного барабана и колес выровняйте метки, сделанные во время снятия;
  • г) проверьте уровень и долейте, при необходимости, масла в задний мост, как описано в Главе 1.






Ссылка на эту страницу в разных форматах


Комментарии посетителей

Еще нет комментариев



Мы применяем куки, чтобы сайт работал стабильно, запоминал настройки и был удобен для вас 🍪