Система выпуска отработанных газов (Мондео 1)

            0

Система выпуска отработанных газов состоит из передней выпускной трубы с катализатором, основного и дополнительного шумоглушителей. Дополнительный шумоглушитель выполнен из покрытого алюминием стального листа, внутренние детали выполнены из нержавеющей стали, чтобы они как можно дольше не ржавели. В бензиновых двигателях в передней выпускной трубе установлен кислородный датчик, необходимый для регулирования катализатора.

Передняя сдвоенная выпускная труба оснащена выпускным коллектором, в дизельных двигателях - турбонагнетателем. Все детали системы выпуска отработанных газов свинчены между собой, поэтому можно заменить каждую отдельную деталь. При любом демонтаже необходимо менять самоконтрящиеся гайки и уплотнения. В случае установки новой системы выпуска отработанных газов рекомендуется заменить новыми все крепежные элементы, как резиновые держатели, резиновые упругие элементы и т.п.



Система выпуска отработанных газов в бензиновых двигателях объемом 1.6- и 1.8-л, а также в дизельных двигателях




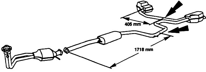
Система выпуска отработанных газов в двигателях объемом 2.0-л


Стрелки на рисунке - это точки разделения деталей системы выброса отработанных газов. Система выпуска отработанных газов, установленная заводом-изготовителем, состоит из двух частей, запасная система выпуска отработанных газов фирмы Ford, а также система выпуска отработанных газов, предлагаемая специализированной торговлей, состоит из трех или четырех частей.







Ссылка на эту страницу в разных форматах
HTMLTextBB Code


Комментарии посетителей


Еще нет комментариев





Мондео 4 
Мондео 3 
Мондео 2 
Мондео 1 и 2 
Мондео 1 

Анекдот про автомобили
покажите следующий