Оглавление: Топливная система, 1,8 л и 2,0 л ↳ Топливная система, 2,5 л ↳ Топливная система, 2,0 л (дизель) ↳
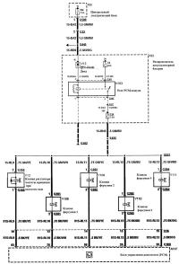
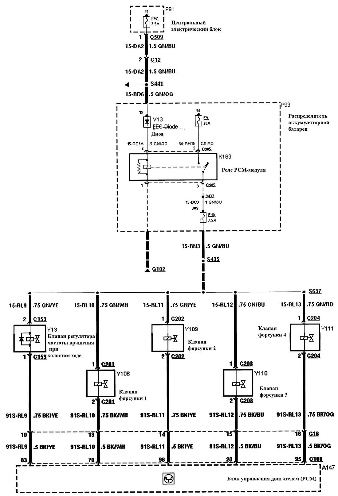
Топливная система, 1,8 л и 2,0 л
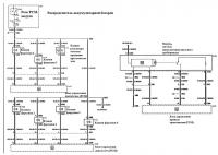
Топливная система, 2,5 л
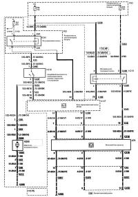
Топливная система, 2,0 л (дизель)
Первоисточник публикации находится на сайте (FORDBOOK.ru)


