Сервомеханизм — снятие и установка (Транзит 2)

            0

Снятие



1. Затянув стояночный тормоз, поддомкратьте переднюю часть автомобиля и установите ее на опорах.

2. Выпустите фиксаторы и снимите нижнее звукоизолирующее покрытие двигателя, составленное из двух частей.

3. Вычистите площадку вокруг соединения поддона коробки передач с картером коробки передач, затем отвинтите восемнадцать болтов и осторожно извлеките поддон. Поскольку поддон все еще наполнен трансмиссионной жидкостью, будьте готовы к ее проливанию (и непрерывному капанию после снятия поддона).

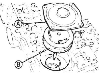
4. Отвинтив крышку задней части сервомеханизма, снимите крышку и прокладку. Вытащите поршень и пружину сервомеханизма (см. рис. 10.4).

Рис. 10.4. Крышка (А) и поршень (В) сервомеханизма после снятия поддона трансмиссии.

Рис. 10.4. Крышка (А) и поршень (В) сервомеханизма после снятия поддона трансмиссии.


5. Отделите уплотнительное кольцо от поршня сервомеханизма. Приобретите новые: уплотнительное кольцо, прокладку крышки сервомеханизма и прокладку поддона - они Вам понадобятся при установке.

6. Слейте жидкость с поддона, затем полностью вычистите поддон и протрите его не ворсистой тканью.

Убедитесь, что с соприкасающихся поверхностей коробки передач и поддона удалены все следы старой прокладки

Установка



7. Смазав новое уплотнительное кольцо поршня сервомеханизма чистой трансмиссионной жидкостью, установите его в канавку поршня.

8. Вставьте поршень и пружину в картер и установите крышку с новой прокладкой

9. Вставьте новую прокладку поддона в установочную позицию, затем установите поддон. Затяните болты поддона в две равные стадии до усилия затяжки, регламентированного спецификацией

10. Установите нижнее звукоизоляционное покрытие двигателя и опустите автомобиль на землю.

11. Наполните коробку передач указанной в спецификации трансмиссионной жидкостью в соответствии с Главой 1.






Ссылка на эту страницу в разных форматах


Комментарии посетителей

Еще нет комментариев



Мы применяем куки, чтобы сайт работал стабильно, запоминал настройки и был удобен для вас 🍪