Вакуумная диафрагма — снятие и установка (Транзит 2)

            0

Снятие



1. Затянув стояночный тормоз, поддомкратьте переднюю автомобиля и установите ее на опорах.

2. Выпустите фиксаторы и снимите нижнее звукоизолирующее покрытие двигателя, составленное из двух частей.

3. Выпустив фиксирующий зажим вакуумного шланга, стяните шланг (если установлен) с ниппеля диафрагмы.

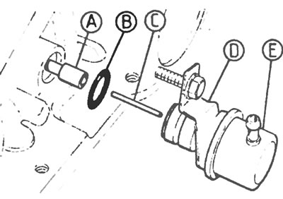
4. Отвинтите фиксирующий болт и отделите узел вакуумной диафрагмы вместе с фиксирующим кронштейном от коробки передач. Вытащите управляющий палец, следя за тем, чтобы не позволить поршню дроссельного клапана выпасть при снятии диафрагмы (см. рис. 9.4).

Рис.9.4. Детали и крепление вакуумной диафрагмы: А - Поршень дроссельного клапана, В -…

Рис.9.4. Детали и крепление вакуумной диафрагмы: А - Поршень дроссельного клапана, В - Уплотнительное кольцо, С - Приводной палец, D - Крепежный кронштейн, Е - Вакуумная диафрагма.


5. Отделите уплотнительное кольцо от узла диафрагмы; при установке Вам потребуется новое уплотнение.

Установка



6. Смажьте новое уплотнительное кольцо и поместите его в канавку узла диафрагмы.

7. Убедитесь, что поршень дроссельного клапана свободно движется во внутреннем диаметре клапана, затем вставьте управляющий палец.

8. Установите диафрагму, закрепив ее фиксирующим болтом, и подсоедините вакуумный шланг.

9. Установите нижнее звукоизоляционное покрытие двигателя и опустите автомобиль на землю.

10. Проверьте уровень и, если необходимо, долейте трансмиссионной жидкости, опираясь на Главу 1.

Контент создан с использованием данных сайта fordbook






Ссылка на эту страницу в разных форматах


Комментарии посетителей

Еще нет комментариев



Мы применяем куки, чтобы сайт работал стабильно, запоминал настройки и был удобен для вас 🍪