Приборы освещения и световой сигнализации

            0      
К приборам освещения и световой сигнализации относятся: фары, подфарники, задние фонари, указатели поворота, фонарь освещения номерного знака и багажника, плафоны освещения салона кузова, подкапотная лампа, лампа освещения щитка приборов, контрольные лампы (указателей поворота, дальнего света фар, давления масла, зарядки аккумуляторной батареи). Цепи перечисленных приборов имеют переключатели и выключатели и защищены предохранителями.

Фара (рис. 63) состоит из корпуса, герметизированного оптического элемента с двухнитевой лампой, установленной в патроне, внутреннего и облицовочного ободков. Оптический элемент в свою очередь состоит из стального отражателя, покрытого тонким слоем алюминия, образующего зеркальную поверхность, и стеклянного рассеивателя. Двухнитевая лампа вставляется с тыльной стороны карболитового патрона. У патрона имеются три контактных штыря, на которые надевается переходная колодка с проводами. Конструкция патрона выполнена так, что при установке лампы нить дальнего света оказывается точно в фокусе отражателя. При этом нить ближнего света получается смещенной относительно фокуса вверх и влево, что дает направление светового пучка вправо и вниз и обеспечивает хорошую освещенность дороги впереди автомобиля и ее правой обочины, уменьшая ослепление водителей встречных автомобилей. На автомобиле ВАЗ в фаре установлены две лампы: одна двухнитевая ближнего и дальнего света, а вторая — одно-нитевая установлена ниже двухнитевой и является передним габаритным фонарем (подфарником), включаемым специальной клавишей на щитке приборов.



Рис. 63. Фара: 1 - лампа; 2 - рассеиватель; 3 - внутренний ободок; 4 - уплотнительная прокладка; 5…

Рис. 63. Фара: 1 - лампа; 2 - рассеиватель; 3 - внутренний ободок; 4 - уплотнительная прокладка; 5 - облицовочный ободок; 6 - регулировочный винт; 7 - отражатель: 8 - патрон; 9 - пружинный контакт; 10 - переходная колодка; 11 - корпус; 12 - винт крепления облицовочного ободка


Подфарники на автомобилях «Москвич» и ЗАЗ — угловые, установлены в передних крыльях автомобиля. В каждом подфарнике имеется одна двухнитевая лампа. Нить малого накала — для габаритного фонаря, а нить большого накала — для лампы указателя поворота (рис. 64).

Рис. 64. Подфарник автомобиля «Москвич»:1 - корпус; 2 - уплотнительная прокладка; 3 - лампа; 4 -…

Рис. 64. Подфарник автомобиля «Москвич»:1 - корпус; 2 - уплотнительная прокладка; 3 - лампа; 4 - рассеиватель


Задний фонарь служит для сигнализации при повороте, для обозначения габарита автомобиля и сигнализации при торможении (сигнал «стоп»). На автомобиле «Москвич» задний фонарь трехламповый; одна лампа — указатель поворота, вторая — габаритный фонарь, третья — сигнал «стоп» (рис. 65, а), а на автомобилях ВАЗ и ЗАЗ — двухламповый (рис. 65, б) с однонитевой и двухнитевой лампами: двухнитевая — указатель поворота и сигнал «стоп», однонитевая — габаритный фонарь. Для освещения дороги при движении задним ходом на всех автомобилях имеются специальные фонари.



Рис. 65. Задний фонарь: а - «автомобиля »Москвич«; б - ВАЗ; 1 - указатель поворота; 2 - габаритный…

Рис. 65. Задний фонарь: а - «автомобиля «Москвич»; б - ВАЗ; 1 - указатель поворота; 2 - габаритный фонарь; 3 - стоп-сигнал; 4 - фонарь заднего хода; 5 - двухнитевая лампа габаритного освещения и стоп-сигнала; 6 - лампа указателя поворота; 7 - рассеиватель


Переключатели и выключатели служат для коммутации соответствующих цепей. На автомобилях«Москвич» установлены центральный и ножной переключатели света.

Центральный переключатель света (рис. 66, а) имеет три положения кнопки. При вдвинутой кнопке все приборы освещения выключены. При вытягивании кнопки в первое положение включаются подфарники, задние фонари, фонарь освещения номерного знака и лампы освещения щитка приборов. Прн вытягивании кнопки во второе положение включаются фары (ближний или дальний свет в зависимости от положения ножного переключателя освещения), задние фонари, фонарь освещения номерного знака. Поворотом кнопки регулируется освещенность щитка приборов.

Рис. 66. Переключатели освещения: а - центральный; б - ножной; 1 - контактная пластина; 2 - шток; 3…

Рис. 66. Переключатели освещения: а - центральный; б - ножной; 1 - контактная пластина; 2 - шток; 3 - кнопка (0, I, II - положения кнопки); 4 - плунжер; S - пружина; 6 - ведущая звездочка; 7 - пластмассовая панель; 8 - изоляционный диск; 9 - контактор




Ножной переключатель света фар (рис. 66, б) служит для переключения дальнего света фар на ближний и обратно. К клеммам Пластмассовой панели 7 присоединяются провод от центрального переключателя света и провода к лампам ближнего и дальнего света фар. При нажатии на плунжер 4 переключателя перемещается ведущая звездочка 6, передвигающая изоляционный диск 8 с контактором 9. При этом диск своим контактом поочередно замыкает цепь ближнего и дальнего света фар.

На автомобиле ВАЗ центрального и ножного переключателей нет. Включение ближнего и дальнего света фар осуществляется рычажком переключателя, установленным под рулевым колесом. При перемещении рычага переключателя вниз в первое положение включается ближний свет, а во второе положение — дальний свет. При перемещении на себя длинного рычага переключателя кратковременно включается дальний свет фар, как при включенном, так и при выключенном включателе наружного освещения.

Включение приборов освещения на автомобиле ЗАЗ осуществляется центральным переключателем на щитке приборов. При вытягивании кнопки в первое положение включаются подфарники, задние фонари и освещение номерного знака. При вытягивании кнопки во второе положение дополнительно включаются фары .(дальний или ближний свет в зависимости от положения рычага переключения, расположенного под рулевым колесом справа).

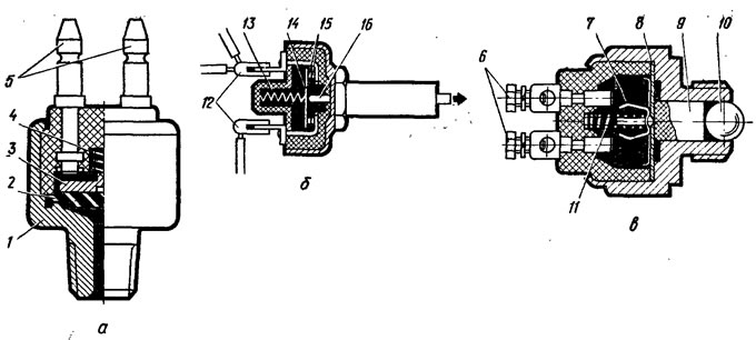
Включатель стоп-сигнала (автомобилей «Москвич» и ЗАЗ), имеющий гидравлический привод (рис. 67, а), служит для включения ламп задних фонарей при торможении рабочим тормозом. Он состоит из корпуса 1, двух клемм 5, резиновой диафрагмы 2 и контактной пластины 5с пружиной 4. Полость корпуса сообщается с магистралью тормозного привода. При нажатии на педаль тормозная жидкость давит на диафрагму 2 и заставляет ее перемещаться. При этом вместе с диафрагмой перемещается контактная пластина 3 и замыкает клеммы 5 электрической цепи стоп-сигнала. При отпускании педали диафрагма возвращается в исходное положение под действием пружины, электрическая цепь прерывается, и лампы стоп-сигнала гаснут.



Рис. 67. Включатели: а - стоп-сигнала с гидравлическим приводом; б - стоп-сигнала с механическим…

Рис. 67. Включатели: а - стоп-сигнала с гидравлическим приводом; б - стоп-сигнала с механическим приводом; в - фонарей света заднего хода; 1 - корпус; 2 - диафрагма; 3 - контактная пластина; 4, 11, 13 - пружины; 5, 6, 12 - клеммы; 7, 14 - контактные пластины; 8 - диафрагма; 9, 16 - штоки; 10 - шарик; 15 - контакты


На автомобиле ВАЗ включатель стоп-сигнала механический, приводимый в действие от тормозной педали. При нажатии на педаль тормоза шток 16 включателя освобождается и под действием пружины 13 перемещается вместе с контактной пластиной, которая через контакты 15 замыкает электрическую цепь ламп стоп-сигнала (рис. 67, б).

Включатель фонарей заднего хода (рис. 67, в) служит для включения ламп задних фонарей с целью освещения дороги при движении задним ходом. При включении передачи заднего хода поводок механизма переключения передач перемещает через шарик 10 и шток 9 включателя диафрагму 8 с контактной пластиной 7, которая замыкает клеммы 6 электрической цепи, и лампы загораются.

Указатель поворотов (рис. 68) состоит из переключателя, специального прерывателя, передних и задних ламп, помещенных в габаритных фонарях, боковых ламп. При включении указателя поворота ток от аккумуляторной батареи (или генератора) через выключатель зажигания поступает на клемму прерывателя, затем по сердечнику 9, якорю 7, натянутой нихромовой струне 5, резистору 6, обмотке 11 на клемму и далее через лампы габаритных фонарей на массу и на минус аккумуляторной батареи (генератора). Благодаря сопротивлению включенного резистора лампы горят неполным накалом. При протекании тока нихромовая струна, нагреваясь, удлиняется и дает возможность якорю с контактом под действием магнитного поля сердечника притягиваться к последнему. При этом контакты 8 смыкаются, резистор 6 шунтируется (выключается) и нити ламп загораются полным накалом. При остывании нихромовой струны якорь с контактом отойдет от сердечника, и контакты 8 разомкнутся, после чего процесс будет повторяться. Число миганий ламп в минуту будет достигать 80—100. При выключении резистора 6 к сердечнику притягивается также дополнительный якорь 10 (правый), в результате чего на щитке приборов загорается контрольная лампа 13; при включении резне-, тора дополнительный якорь отходит обратно, и контрольная лампа выключается (мигает). Рычажок переключателя поворотов расположен под рулевым колесом и после возвращения рулевого колеса в исходное положение (при выходе автомобиля из поворота) автоматически переводится специальным устройством из включенного в нейтральное положение.



Рис. 68. Указатели поворотов: а - указатели поворотов выключены: б - включен правый поворот; 1 -…

Рис. 68. Указатели поворотов: а - указатели поворотов выключены: б - включен правый поворот; 1 - переключатель указателя поворота; 2 - лампа подфарника; 3 - лампа бокового указателя поворотов; 4 - лампа заднего фонаря; 5 - струна; 6 - резистор; 7 - якорь; 8 - контакты; 9 - сердечник; 10 - дополнительный якорь; 11 - обмотка сердечника; 12 - изоляционная панель; 13 - контрольная лампа; 14 - аккумуляторная батарея


Предохранители включаются в электрические цепи потребителей с целью защиты проводки и обмоток генератора, а также аккумуляторной батареи от разряда при коротком замыкании.

На автомобилях устанавливаются термобиметаллические и плавкие предохранители. Первые из них — непрерывного действия (рис. 69, а), состоят из корпуса, клемм, биметаллических пластин и контактов.

Рис. 69. Предохранители: а - термобиметаллвческий; б - плавкие (от 1-го до 10-го); 1 - клеммы; 2 -…

Рис. 69. Предохранители: а - термобиметаллвческий; б - плавкие (от 1-го до 10-го); 1 - клеммы; 2 - биметаллическая пластина; 3 - контакты




При прохождении по биметаллической пластине тока, силой больше установленной величины (короткое замыкание), она, сильно нагреваясь, выгибается и размыкает контакты, тем самым прерывая электрическую цепь. После остывания пластина выпрямляется и снова замыкает цепь. Вследствие того что пластина нагревается быстро, а остывает медленно, контакты дольше будут находиться в разомкнутом состоянии и, несмотря на короткое замыкание, средняя величина силы тока в цепи будет небольшая. Замыкание и размыкание контактов сопровождаются пощелкиванием, сигнализирующим водителю о наличии короткого замыкания.

Плавкие предохранители объединяют в один блок и располагают под капотом двигателя, под панелью приборов или в багажнике. На крышке блока предохранителей с внутренней стороны наклеивают таблицу с указанием, какую электрическую цепь защищает каждый предохранитель. Плавкие вставки предохранителей изготовляют из медной луженой проволоки диаметром 0,26 мм на ток 10 А. При появлении тока больше указанной величины вставки расплавляются (перегорают) и прерывают электрическую цепь.

На автомобиле ВАЗ в общем блоке расположены 10 плавких предохранителей (рис. 69, б), под №1 предохранитель на 16 А, а остальные девять на 8 А.



Поддержка сайта: Большой выбор операционных систем AlterOS на сайте cleverkey.ru.




Ссылка на эту страницу в разных форматах


Комментарии посетителей

Еще нет комментариев




Анекдот про автомобили
покажите следующий
Мы применяем куки, чтобы сайт работал стабильно, запоминал настройки и был удобен для вас 🍪