Радиоантенна — снятие и установка (Транзит 2)

            0

Снятие



Антенна, установленная на крыше



1. Обратитесь к Главе 11 и, при необходимости, снимите внутреннюю отделку потолка кабины с тем, чтобы получить доступ к тыльной стороне антенны.

2. Работая снаружи автомобиля, подденьте и снимите с антенны крышку фиксирующей гайки, отвинтите гайку и снимите шайбу (см. рис. 25.2).

3. Отделите антенну с прокладкой от направляющей шпильки.

4. Для снятия провода антенны вытащите радио или магнитолу (см. Раздел 23) и отцепите от нее провод антенны.

Рис. 25.2. Подцепив, снимите крышку фиксирующей гайки антенны, установленной на крыше, отвинтите…

Рис. 25.2. Подцепив, снимите крышку фиксирующей гайки антенны, установленной на крыше, отвинтите гайку и снимите шайбу.


5. Антенна с проводом может теперь быть снята с автомобиля. Поскольку провод антенны проходит через переднюю стойку (стойка лобового стекла), желательно снять отделку и (или) прикрепить кусок крепкого шнура к концу провода и вытянуть провод, после чего отделить шнур. Оставьте шнур в таком положении, чтобы можно было прикрепить его к проводу повторно и протянуть проводник обратно по старому пути.

Антенна, установленная сбоку



6. Этот тип антенны обычно установлен на кузове типа Luton с целью улучшения приема. Сначала вытащите радио или магнитолу (Раздел 23) и отделите провод антенны от задней части узла.

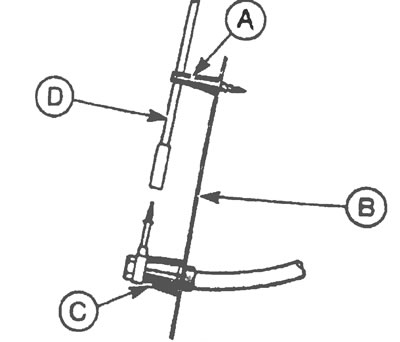
7. Затем отвинтите болт, крепящий основание антенны, и, отделив антенну от крепления, вытащите провод. Отведя антенну вниз, отделите ее от верхнего держателя, после чего снимите антенну с проводом (см. рис. 25.7).

Рис.25.7. Детали крепления антенны, установленной на боковой стороне автомобиля: А - Верхние…

Рис.25.7. Детали крепления антенны, установленной на боковой стороне автомобиля: А - Верхние крепление антенны, В - Кузов автомобиля, С - Основание антенны, D - Антенна.


Установка



8. Установка производится в порядке, обратном снятию. Убедитесь в том, что провод антенны не касается подвижных деталей.






Ссылка на эту страницу в разных форматах


Комментарии посетителей

Еще нет комментариев



Мы применяем куки, чтобы сайт работал стабильно, запоминал настройки и был удобен для вас 🍪