Кривошипно-шатунный и газораспределительные механизмы

            0      
Блок цилиндров. Головка блока цилиндров. Поршни. Поршневые кольца. Пальцы. Шатуны. Коленчатый кал. Маховик. Вкладыши. Впускные и выпускные клапаны. Распределительный вал. Штанги толкателей. Толкатели. Коромысла. Газопровод. Привод распределителя. Вентиляция картера.

Надо отключить цилиндр. Если из картера двигателя вытекло масло, двигатель застучит. От недостатка масла страдают, в первую очередь, шатунные вкладыши и шейка коленчатого вала. Необходимо определить, в каком цилиндре неисправность — снимать поочередно наконечники со свечей. В неисправном цилиндре при отключении свечи звук будет исчезать.

Чтобы доехать до гаража на трех цилиндрах (если это недалеко), надо свечной провод закрепить на двигателе так, чтобы его наконечник касался «массы» (иначе будет выведена из строя катушка зажигания).

Оправданная операция



Для удобства снятия крышки головки блока на ГАЗ-24-10 можно в ушке, приваренном к крышке, и в который заправлена оболочка троса газа, пропилить паз шириной 3 мм (см. рис. 1). Через этот паз выводится трос, не отсоединяя его от карбюратора.

Рис. 1. Узел крепления троса: 1 - трос; 2 - гайка; 3 - крышка; 4 - ушко; 5 - оплетка троса.

Рис. 1. Узел крепления троса: 1 - трос; 2 - гайка; 3 - крышка; 4 - ушко; 5 - оплетка троса.




Замена поршневых колец



Верхние кольца обычно имею? хромированную рабочую поверхность, что увеличивает их долговечность и сохраняет зеркало цилиндра. Но при текущем ремонте ставить новые хромированные кольца нельзя ни в коем случае, так как из-за высокой твердости хрома они очень плохо и медление» прирабатываются к изношенным, потерявшим правильную геометрическую форму цилин драм. Результат такого «ремонта» — дымление двигателя и возрастание расхода масла.

Хромированные кольца можно устанавливать только в новые или же расточенные цилиндры, имеющие правильную круглую форму. При изношенных цилиндрах во все канавки поршня, включая и верхнюю, нужно ставить кольца, не покрытые хромом.

Почти для всех автомобилей выпускаются специальные кольца. Они хорошо прирабатываются к изношенным цилиндрам. Их можно ставить и в новые цилиндры.

При замене колец крайне желательно менять и поршни. Дело в том, что у стары?; поршней канавки изношены по высоте, и новые кольца имеют в них значительный люфт. Установка новых колец на старый поршень с изношенными канавками не дает хорошего эффекта в отношении расхода масла.

Для проворачивания коленчатого вала двигателя при регулировочных работах в ВАЗ-2105 пользуются специальным воротком или большим гаечным ключом, надеваемым на шестигранник храповика, которых нет в бортовой сумке.

Между тем, их успешно заменяет балонный ключ, который там есть. В зависимости ст положения храповика его вставляют одной или другой стороной, как показано на рисунке 2.

Рис. 2. Возможные положения храповика и ключа.

Рис. 2. Возможные положения храповика и ключа.




Регулировка клапанных зазоров



При выполнении этой операции очень трудно выполнить требование инструкции о повороте коленчатого вала на 180 градусов — нет ориентиров.

Чтобы облегчить задачу, нужно на фланце цепной звездочки распределительного вала, том самом, где расположена метка начального положения, разметить и нанести еще три метки, отстоящие на 90 градусов одна от другой (90 градусов поворота распределительного вала соответствует 180 градусам по коленчатому валу). Можно нанести метки кернером или сверлом. Для справки: у цепной звездочки 38 зубьев, следовательно, 90 градусов соответствуют 9,5 зуба.

Аналогичным образом можно разметить шкив зубчатого ремня на автомобиле ВАЗ-2105. Исходной точкой здесь является метка в виде латинской буквы «F».

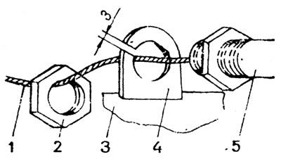
Как снять пружину клапанов в моторах «Волга» ГАЗ-21 и ГАЗ-24 без демонтажа головки блока. Для этого используется простейшее приспособление (см. рис. 3).

Рис. 3. Разборка клапанного узла: 1 - пластина; 2 - тарелка; 3 сухарики; 4 - крюк; 5 - пружина; 6 -…

Рис. 3. Разборка клапанного узла: 1 - пластина; 2 - тарелка; 3 сухарики; 4 - крюк; 5 - пружина; 6 - поддержка.


Перед установкой крюков нужно один-два раза ударить молотком по тарелке пружины (это ослабит фиксацию сухариков) и установить поршень в верхнюю мертвую точку, чтобы клапан после удаления сухариков случайно не упал в цилиндр. Сняв с головки блока ось с коромыслом, вводятся под предпоследний виток пружины клапана крюки и, поочередно доворачивая гайки на их стержнях, сжимаются пружины на 10—12 мм.



Через свечное отверстие прутком, желательно алюминиевым, диаметром 8—9 мм поддерживается клапан в верхнем положении и легко ударяется по тарелке, которая опускается с пружиной, освобождая сухарики. Вынув их, снимается сжатая пружина. Сборка выполняется в обратном порядке — поддерживаем прутком клапан, ставится сжатая пружина на место, вкладываются сухарики, отпускаются гайки крюков и они вынимаются.

Разбирать этот узел обычно приходится для замены пружин или износившихся маслоотражательных колпачков на направляющих втулках клапанов.

При замене маслосъемных колпачков в двигателе «Жигулей» .отламывается выступающая часть направляющей втулки клапана. В этом случае приходится снимать головку блока и заменять втулку.

Избежать этого можно при помощи специальной надставки на втулке, которую можно выполнять по одному из двух вариантов (см. рис. 4). В первом — маслосъемный колпачок запрессовывается внутрь (левый рисунок), а во втором — напрессовывается снаружи (правый рисунок) надставки.

Рис. 4. 1 - надставка с внутренним (слева) и наружным (справа) расположением; 2 - колпачок; 3 -…

Рис. 4. 1 - надставка с внутренним (слева) и наружным (справа) расположением; 2 - колпачок; 3 - шайба.


В обоих вариантах эти детали устанавливаются под пружины клапана, а штатные опорные шайбы снимаются, поскольку их роль выполняет фланец надставки. Под него можно подложить уплотнительную шайбу, вырезанную из малостойкой резины толщиной 1 мм.



Плотность прилегания клапанов к седлам в двигателе проверяют обычно керосином на проникновение. Но можно воспользоваться и таким методом.

Для головки двигателя ЗАЗ-965 изготавливается заглушка со шлангом (см. рис. 5), которой закрывается канал в головке. Головка кладется камерами вверх и заливаются клапаны слоем воды. Затем ртом нагнетается воздух в шланг. Если клапаны плотно прилегают к седлам, пузырьков в воде не будет. Если есть хоть небольшая щель, воздух будет легко выходить наружу, причем хорошо видно где.

Рис. 5. Заглушка: 1 - пробка (резина); 2 - трубка; 3 - шланг.

Рис. 5. Заглушка: 1 - пробка (резина); 2 - трубка; 3 - шланг.


Ремонт клапанов



Незначительно пригоревший клапан можно восстановить без применения специального оборудования. Для этого нужны лишь ручная дрель, кусок резинового шланга, мелкозернистая наждачная бумага (№ 180—230).

Снять с клапана пружину и снова вставить его в направляющую втулку, предварительно надев на него кусок наждачной бумаги 1 в отверстие (см. рис. 6), затем, соединив клапан с дрелью 4 резиновым шлангом 3, начинается шлифовка, прижимая клапан к седлу (к положенной на седло наждачной бумаге). Нагар, небольшие раковины и кольцевые следы износа выводятся через несколько секунд, после этого требуется притереть клапан обычным способом.



Рис. 6. Шлифование клапана: I - наждачная бумага; 2 - клапан; 3 - шланг; 4 - дрель.

Рис. 6. Шлифование клапана: I - наждачная бумага; 2 - клапан; 3 - шланг; 4 - дрель.


При шлифовке и притирке необходимо следить, чтобы абразивные материалы не попадали в направляющую втулку клапана.

Притирка клапанов



Сначала обычным способом, используя рекомендуемые материалы (напр., стеклянный порошок с маслом), притирать клапан до получения матового пояска равномерной ширины. Затем, тщательно очистив клапан и седло, продолжать притирку, используя в качестве абразива пасту ГОИ в смеси с керосином (но не с маслом). Притирка продолжается до тех пор, пока посадочный поясок из матового не станет блестящим. При таком способе повышается чистота сопряженных поверхностей, улучшается герметичность и заметно возрастает срок службы клапанов.

Для удержания клапанов при притирке нужно вырезать из куска твердой резины" или пластмассы толщиной 10—20 мм диски диаметром с клапан, ножовкой сделать на них прорезь, куда могла бы входить отвертка или наконечник притирочного приспособления, и приклеить их к клапанам растопленным битумом. После притирки диски отделить от клапанов, остатки битума смыть бензином.



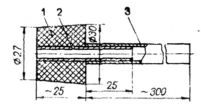
Что нужно сделать с успокоителем цепи?



Чтобы предотвратить его поломку, надо укрепить успокоитель. Снять крышку головки блока и на стенке головки наметить точку, расположенную против нижней части (координаты точки и соответствующее место на успокоителе приведены на рис. 7, 8).

Рис. 7. Координаты отверстия в головке.

Рис. 7. Координаты отверстия в головке.


Затем нужно снять успокоитель и под то место, где он стоял, заложить салфетку. Сверлом диаметром 5 мм просверлить отверстие по намеченной точке и нарезать в нем резьбу 6 мм. Осторожно вынуть салфетку с попавшей на нее стружкой, установить успокоитель и ввернуть в отверстие болт длиной 60 мм так, чтобы его конец уперся в успокоитель. Законтрить блок гайкой, предварительно навернутой на него, а течь масла исключить, подложив .под нее шайбу из мягкого алюминия.

Рис. 8. Успокоитель. Крестом отмечено место, куда упирается конец болта.

Рис. 8. Успокоитель. Крестом отмечено место, куда упирается конец болта.




Регулировка натяжения цепи в приводе распределительного вала



Не надо дожидаться характерного звонкого цокота. Освободив колпачковую гайку цанги, нужно поворачивать коленвал пусковой рукояткой и выбирать свободный натяг ведущего участка цепи. Затягивать цангу натяжителя нужно после поворота коленчатого вала на один-два оборота, удерживая рукоятку внатяг.

Очистка деталей цилиндропоршневой группы осуществляется при ремонте двигателя. Отложения на поршнях, кольцах и других деталях очень прочны. Применяя механический способ, можно повредить поверхность деталей. Поэтому рекомендуется в 1 л воды растворить 40—50 гр стирального порошка и выдержать детали в этом растворе 1,5—2 часа при температуре 90—95 градусов, затем очистить их щеткой и промыть горячей водой. Этот раствор безвреден для стальных, чугунных и алюминиевых деталей.





Ссылка на эту страницу в разных форматах


Комментарии посетителей

Еще нет комментариев




Анекдот про автомобили
покажите следующий
Мы применяем куки, чтобы сайт работал стабильно, запоминал настройки и был удобен для вас 🍪