
Если верить тем документам, которые были опубликованы на официальном сайте "Ведомства по патентам", патент, поданный представителями американского бренда, относился к «платформе грузовика с выборочно активируемыми магнитными секциями».

По сути, название заявки говорит само себя - Ford желает намагнитить пол грузовой платформы пикапа. В документе говорится о том, что данная фукцния создана для для удержания груза.
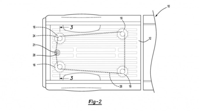
На данный момент, различные тюнинг-ателье предлагают подобные решения данной проблемы, вызванной погрузкой груза. В большинстве случаев, эти решения представляют собой некие ящики для хранения. Патентная заявка от компании Ford описывает возможность активации до шести магнитных точек на грузовой платформе, которые можно активировать и деактивировать при помощи тумблеров в салоне или посредством специального приложения.
Взаимодействие между электромагнитами для создания идеального решения для удержания груза было объяснено в патентных документах. Во второй части патента описаны магнитные крепления, которые будут использоваться на внедорожниках и фургонах Ford.
Насколько нам известно, мы впервые слышим, чтобы автопроизводитель действительно рассматривал возможность использования магнитов для удержания груза, и для этого есть множество причин.
Электромагниты не совсем совместимы с другими электронными и механическими элементами, которые можно найти под грузовиками. Чтобы эта новая технология работала, Ford должен найти способ защитить другие части своих грузовиков от магнитного поля.

Не так давно, наше издание писало о том, что немецкое тюнинг-ателье Zubr Team представило «Ниву», которая стоит дороже Ford Bronco. Несмотря на то, что бессмертная Lada Niva была впервые представлена в 1977 году, она по-прежнему остается популярным выбором среди автолюбителей, ищущих недорогой внедорожник.